有趣的知识:为什么一些药瓶需要同时按下和转动才能打开?
1.为什么有些药瓶需要同时按下和转动才能打开?
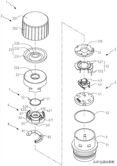
你注意到有些药瓶的瓶盖打不开吗。顺时针方向的不可能。逆时针方向的不可能。用力拉?还是没有。

当我赶时间的时候,我仔细看了看,发现了一个提示:按下并同时转动以打开它!事实证明,这种看似不正常的设计是为了防止儿童误食。
不仅是药瓶,还有清洁剂和消毒剂等日化产品瓶

原理如下图所示,看起来非常复杂~

2. 法国人有多不喜欢美国咖啡?法国人称美国咖啡为“Jus de chaussette”,意为“袜子汁”。

3.鹿角每年都会自然脱落。虽然它们看起来很凶猛,但从鹿身上掉下来的过程对鹿来说并不痛苦。

4. 1608年,伽利略听说一个荷兰人把凸面镜和凹面镜结合起来制作了一个放大镜玩具。他很感兴趣,自己做了一个。从一开始,他就可以把原来的物体放大三倍到32倍。伽利略通过这台望远镜绘制了世界上第一幅月球草图。

5. 有一场医生舞蹈比赛!这是《科学》杂志主办的“跳出来你的博士论文”竞赛。医生们会把他们的文件跳出来。这是中国女孩吴晓涵表演的早期宇宙中的光子之旅。


6. 猪臀蠕虫通常在900至1200米缺氧的深海中移动。它也被称为飞臀,因为它看起来很像与身体分离的臀部。



7. 金字塔是如何建造的?一位外国设计师用木头修复了它


8. 在上个世纪,一种专门为秃头人设计的刷子可以在不戴裸露头皮的情况下梳理剩余的头发。

9. 燕窝菌类是一种外观奇特的菌类,顾名思义,它看起来像一个微型燕窝。

10. 《桃李遍天下》首先指的是谁?
仔细想想,别度娘,看看你的第一反应有多正确!
