和而泰1月10日大宗交易平台出现一笔成交,成交量15.05万股,成交金额200.47万元,大宗交易成交价为13.32元,相对今日收盘价溢价1.68%。该笔交易的买方营业部为华泰证券股份有限公司上海浦东新区东方路证券营业部,卖方营业部为中信证券股份有限公司大连分公司。
11月21日,和而泰今日涨停,龙虎榜数据显示,上榜营业部席位全天成交11.15亿元,占当日总成交金额比例为12.39%。其中,买入金额为5.4亿元,卖出金额为5.75亿元,合计净卖出3489.32万元。具体来看,机构合计净卖出8968.98万元。
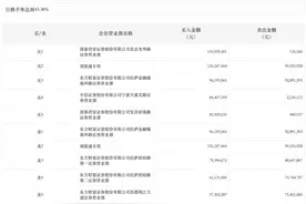
和而泰今日涨停,全天换手率37.27%,成交额63.04亿元,振幅14.60%。龙虎榜数据显示,深股通净买入4405.23万元,营业部席位合计净买入2.76亿元。深交所公开信息显示,当日该股因日涨幅偏离值达12.01%上榜,深股通净买入4405.23万元。
每经AI快讯,和而泰今日跌6.15%,成交额92.41亿元,换手率50.61%,盘后龙虎榜数据显示,买方前五“拉萨天团”占据四席,北京帮席位净卖出2.94亿元,深股通专用席位买入9408.72万元并卖出1.67亿元。
和而泰今日涨停,全天换手率18.48%,成交额32.76亿元,振幅11.77%。龙虎榜数据显示,机构净买入779.86万元,深股通净买入4035.57万元,营业部席位合计净买入2.97亿元。深交所公开信息显示,当日该股因日涨幅偏离值达8.90%上榜,机构专用席位净买入779.
和而泰今日涨停,全天换手率37.79%,成交额59.32亿元,振幅12.69%。龙虎榜数据显示,深股通净卖出1022.84万元,营业部席位合计净买入2.73亿元。深交所公开信息显示,当日该股因日涨幅偏离值达11.22%上榜,深股通净卖出1022.84万元。
证券时报•数据宝统计,6月27日共有65只个股现身大宗交易平台,累计成交量0.76亿股,累计成交额10.83亿元,其中26只个股交易额超千万元。景旺电子交易额最高,大宗交易共19笔,成交额1.43亿元;其次是浦发银行,大宗交易共1笔,成交额0.83亿元。